ASJ系列智能剩余電流繼電器
電力監控與保護系列



產品簡介
功能:
該系列繼電器可與低壓斷路器或低壓接觸器等組成組合式的剩余電流動作保護器,主要適用于交流50Hz,額定電壓為400V及以下的TT或TN系統配電線路,防止接地故障電流引起的設備和電氣火災事故,也可用于對人身觸電危險提供間接接觸保護。
應用范圍:
需要檢測剩余電流,對電氣線路進行接地故障保護的場合。
訂貨范例:
具體型號:ASJ20-LD1C
技術要求:額定剩余動作電流300mA;極限不驅動動作時間0.5s;上電工作時繼電器輸出1組常閉、1組轉換。
通訊協議:無
輔助電源:AC220V
技術參數


應用組網

外形安裝
外形尺寸:


接線方式:

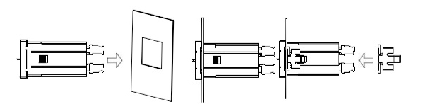
安裝示意:

安裝方式為屏裝式,采用兩側卡扣擠壓固定,具體操作如下:
1、在配電盤上,選擇適合的地方開一個與所安裝儀表開孔尺寸相同的安裝孔;
2、取出剩余電流繼電器,取下固定卡扣;
3、把儀表插入配電盤儀表孔中,插入儀表后,用卡扣固定安裝。
現場安裝圖:

產品報價














